The 519 series residual current transformer is mainly used in low-voltage distribution cabinets such as 380V and 660V to continuously detect and monitor the residual current at the installation nodes of the corresponding circuit.For larger-sized products installed on the copper busbar loop, due to the heavy weight of the product, a special mounting bracket is attached, which can fix the heavier product well in the distribution cabinet, but the strength of the distribution cabinet mounting plate is required. It is recommended to use a flat mounting bracket to increase its installation stability.
Features :
*Signal processing units can be added to expand product functions;
*Strong overload capacity, 20 times the rated current can be overloaded for a long time as needed;
*Excellent balance characteristics, small-size products meet the detector alarm threshold 20mA requirements;
*High accuracy: 0.5/1.0/3 levels of accuracy are optional;
*Compact design, small size, beautiful appearance;
*Good consistency and excellent interchangeability;
Naming :
Color code:
0: black; 3: red; 8: gray; 9: white;
The shell color specified by the customer is coded and classified according to the main color of the color system;
Normal use and installation conditions:
Installation location: Indoors.
Ambient temperature -20℃~+50℃.
Ambient humidity The recommended relative humidity is not more than 80%.
Altitude Not more than 3000m.
Atmospheric conditions There is no serious pollution, corrosive and explosive media in the atmosphere.
No environment with significant frequent vibration and impact.
Storage temperature -20℃~+75℃.
General technical indicators:
Transformer electrical schematic diagram:
The wiring terminals of this series of products are S1, S2, S1t, and S2t, a total of four terminals. Standard products S1 and S2 are the secondary output terminals of the transformer, and S1 and P1 sides have the same name, and S2 and P2 sides have the same name; an experimental winding can be added as needed, and the input end of the experimental winding is S1t, S2t, and S1t and P1 sides have the same name, and S2t and P2 sides have the same name. The number of turns of the test winding generally does not exceed 50 turns, and it can be wound as needed.
The electrical schematic diagram is as follows:
In actual use, if you need to add a secondary open circuit protection part inside the transformer, you need to explain it specially. The standard product does not contain the secondary open circuit protection part. The open circuit protection can be increased by adding a docking diode or a transient suppression diode.
Balance characteristic parameters:
When the residual current transformer passes the corresponding sinusoidal AC current, its output sampling value voltage should meet the requirements in the following table:
R=1000Ω C=0.022μF Current source frequency: 50-60Hz; accuracy better than 0.1%; voltmeter AC mV sampling accuracy better than 0.1%.
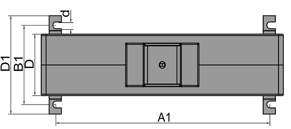
Product size corresponding chart :
